喷粉桩加固地基的原理、应用及施工
李 林 王荣宗?
(河南省建筑工程学校,郑州 450007)
摘要:本文对目前工程中常用的喷粉桩加固地基的原理进行了较为详细的论述,并阐述了喷粉桩的技术特性、应用、施工组织、施工设备及质量要求、施工中应注意的问题。为从事这一工作的技术人员提供比较具有价值的技术资料。
关键词:喷粉桩;地基;施工?
中图分类号:TU472.3 文献标识码:A
?
The Principle, Appliance and Construction of Disperse ?
Pile Applied in Foundation Reinforcing
?
Li Lin Wang Rongzong?
(Henan School of Architectural Engineering Zhen Zhou 450007,China)
Abstract: The article gives readers a detailed recounting about the principle of disperse pile in foundation reinforcing, which is now commonly used in existing engineering; and then it proceeds to expound its technological characteristic appliance、 construction organization, equipments quality requirement as well as some problems that should be paid attention to during the construction process. Thus it provides some valuable technological information for the technical personnel.
Key words disperse pile; foundation area; construction?
一、概述
喷粉桩最早是由瑞典和日本于20世纪60年代后期提出的加固地基的技术工艺。80年代初,国内 开始研究,1993年,我国第一台液压步履式深层搅拌喷粉桩机在铁道部武汉工程机械厂诞生。1984年7月在广东省云浮硫铁矿铁路专用线上用石灰搅拌桩加固单孔4.5m盖板箱涵软土地基获得成功,1985年4月通过铁道部部级技术鉴定。此后,喷粉桩技术在国内沿海地区及长江中下游得到了广泛应用。河南省于1991年引进此项技术,首次用于信阳机务段六层砖混结构住宅楼工程中,在以后短短的几年内,很多设计单位将喷粉桩技术进行了推广应用,特别是郑州、开封、新乡等地下水位较高的地区。目前,省内很多建筑施工单位组建了喷粉桩施工作业队,无论是设备水平还是人员施工素质,都达到了一定的标准。
二、原理
喷粉桩加固地基的机理是利用粉体喷射桩机在钻孔过程中,用高压空气将粉状固化剂以雾状喷入被加固的软土中,凭借机械上特制的钻头叶片的旋转,使固化剂与原位软土就地强制搅拌混合;固化剂吸水后进行一系列物理化学反应,使桩位原土有软变硬,形成整体性好、水稳性强和承载力高的新桩体;这种桩体与桩间土相互作用形成比天然软土地基承载力有大幅度提高的复合地基。目前在实际工程中喷粉桩所用的固化剂主要是水泥或石灰。喷拌成水泥土桩或石灰土桩。?
当采用水泥作为固化剂时,水泥的水化与其在砼中的变化机理不同,砼的硬化是水泥在粗骨料中进行,而水泥土硬化是水泥在具有活性的粘土介质中进行,作用缓慢而复杂;水泥吸水后产生水化反应和水解反应,生成Ca(OH)2、H2OCaSiO、H2OCa3(AiO)2、H2OFeCa2(AiO)2等化合物,土粒中的Na+和K+与化合物中的Ca++进行当量吹附交换:土颗粒<Na+(K+)+Ca<土颗粒+Na+(土颗粒+Ka+)正是由于Ca++的吸附交换作用,使大量的土颗粒形成较大的土团粒。随着水化反应的深入,Ca++的数量继续增多,当Ca++超过上述离子交换的需要量后,与粘土矿物中的SiO-2和Ai2O3的一部分或大部分进行化学反应,生成不溶于水的微晶凝胶,凝胶在空气中逐渐硬化,增大土的强度、并使水分不易侵入而增加土的水稳定性。微晶凝胶是由极细小的微晶聚集而成,它们在土粒表面形成纤维状的结晶,结晶析出端部、也就是露出晶边的Ai+3将吸引结合于已析出晶面的OH-1,结晶面之间发生排斥,形成“晶边——晶面”结合、并辐射向外延伸,进而再相互侵入并将土团包裹起来,形成水泥土独特的蜂窝状结构。水泥和土搅拌越充分,则水泥土结构的离散性就越小。
当采用生石灰作固化剂时,石灰在土层中吸水、膨胀、发热和进行复杂的离子交换,土微粒凝聚、火山灰、 碳酸钙、固结等一系列物理化学反应,生成复杂的化合物,这些化合物在水和空气中逐渐硬化、使土粒得到牢固结合和加强,促使周边土体固结,从而形成较高强度的石灰土。
三、特性
喷粉桩是由水泥或石灰作固化剂而形成的灰土桩,因为它既不能掺入高强度的粗石骨料,也不能通过用配置钢筋的方法来提高自身的承载力,所以喷粉桩仅考虑竖直荷载的作用,不象砼桩那样,承受竖向力的同时还能承受水平力。喷粉桩自身性质介于刚性桩(钢筋混凝土灌注桩、钢筋混凝土预制桩、木桩、钢管桩等)与柔性桩(碎石桩、砂桩、土桩等)之间的一种桩型,它的刚度、抗压强度和抗侧向压力作用均小于刚性桩而大于柔性桩。由于喷粉桩所用的固化剂是在钻孔过程中、通过钻杆喷入土层中的,桩载面中心的钻杆占去一定的空间,钻头叶片距端头越近搅拌力矩越大,使灰土搅拌愈均匀;因此桩身截面的强度是不均匀的,中心轴处强度最低,沿截面经向由中心轴向外边缘强度逐渐增强,在喷粉桩施工过程中应空杆复钻一次,以便提高混合土的均匀性是非常必要的。??喷粉桩的轴向应力分布是不均匀的,从桩顶自上而下轴向力逐渐减小,最大轴向力位于桩顶3-5倍桩径范围内,再往下轴向力收敛很快,所以,喷粉桩的破坏机理是,以浅层桩向纵向压缩变形增长,外荷载继续增加,桩向达到抗裂极限状态,而使桩体失去传力功能。?
喷粉桩使软土地基竖向承载力的提高与桩位土质、含水量、固化剂掺入比、土灰混合均匀程度和龄期等因素有直接的因果关系。
1、土质:喷粉桩原位土以粉土为最好,掺入固化剂、粉土的强度增长效果远比对淤泥质土和粘性土的效果好;土粒越粗、增强效果越明显;同时,原位土越纯净,增强效果越好;软土层中有机物质含量越多,则增强效果越低。因此,喷粉桩适宜被加固软地基土为粉土、砂土、粉砂土、粉质粘土、淤泥等土层,而不适宜含有石块、树根、有机物的人工填土层。
2、含水量:在软土层中、尤其是粘土层中,存在着一个最佳含水率,天然土中的每一个含水量值对应一个最佳固化剂掺入比,如超出这个对应界限,增强效果则不明显。喷粉桩适用于含水量不小于23%的土层,效果最好的含水量为30%-60%。
3、固化剂掺入比μp:固化剂的掺入量与固化料的类别、加固地基土质情况、含水量、原位土的承载力、设计要求的桩体强度和复合地基承载力等条件有密切的关系。试验资料说明:当单桩强度值一定时,固化料强度等级越高,掺入量就越少;原位土颗粒越粗,土质越纯净,掺入量越少;土层含水量越小,掺入量越少;原位承载力越大,掺入量越少。固化剂掺入比μp(指固化剂的掺入重量与被加固桩体土重量之比)。
μp=掺入固化料的重量/被加固桩体土的重量×100%?
当设计考查地质资料后一般固化剂掺入量按原位土含水量经试验确定。通常含水量高时,掺入比可控制在μp=10%-15%;当含水量较低时,掺入量控制在μp=7%-10%。国家行业标准《建筑地基处理技术规范》(JGJ79-91)中规定,固化剂掺入量μp=7%-15%。实际工程中应通过制作多组灰土试件,经试验后确定一个μp值,施工单位遵照执行。对于无条件作掺入比试验的工程,一般情况下对500mm直径的桩,掺42.5#水泥量为35-50kg/每延长米。?
4、混合料搅拌均匀程度:喷粉桩的强度与土料混合均匀程度成正比,灰土搅拌越均匀,其改善原状土的效果越好,相应的抗压强度越高。?
5、龄期:喷粉桩的强度随养护龄期的延长而增大。28d内强度增长显著,尤其在前7d,强度急剧提高,一般可达到28d强度的60%左右,可达90d强度的35%-50%,28d后强度仍然有明显增长,90d后强度增长缓慢,因此,喷粉桩的无侧限抗压强度标准值以90d龄期作为强度指标。?
资料表明:在淤泥质粘土中,水泥土桩无侧限抗压强度能达到gU=3250Kpa-3720Kpa,相应的变形模量EV=180Mpa-600Mpa。变形模量与抗压强度之比为EV/gU=120-150.石灰土喷粉桩的无侧限抗压强度达到gU=1309Kpa.粘聚力c=330Kpa.内摩擦角β=35°45′。?
四、优点及应用
1、喷粉桩适用于加固软土地基,增强软土地基的承载力,使之提高工业与民用建筑、港口码头、公路桥涵、挡土墙、油罐等建筑物的基础地耐力。?
2、当进行建筑物基坑开挖时,由于地面宽度不够,放坡受到限制,开挖边坡的稳定性不够时,喷粉桩可用于加固软土边坡,采用单个喷粉桩互相搭接而形成竖壁状墙体作护岸结构,比起砼连续墙、预制钢筋砼桩、钢板桩等护岸方案,不但施工简便,而且经济效益可观。?
3、采用水泥作固化剂制成的喷粉桩,由于水泥与原位土混合后,原位土变成较密实的水泥土,大大降低软土的渗透系数,可有效地起到阻水作用,避免坑壁流砂发生。同时,由于喷粉桩下端入土深度校长,切断了地下水的渗透途径,使得基坑降水漏斗变陡,减小了由于降水量大对周围环境的危害,从而使基坑排水作业简便化,有利于基坑的施工。?
4、喷粉桩的优点为:加固工艺合理、施工简单、技术可靠、成本低廉、进度快、无振动、无噪音、工期短、占地面积小、对环境无污染、对周围建筑物无影响、加固效果好等,更引人注意的还有:?
(1)可以直接在含有地下水的地层中施工成型。?
(2)虽然负温下固化料与土的反应减弱,但温度回升后,反应可继续进行,故在地温为-10℃以上的情况下进行施工,毫不影响桩的质量。?
(3)施工过程中只向土层中喷射固化料干粉,无需向地层中注入附加水分,不但减少了施工污染,而且使固化料能充分吸收软土中的水分,从而增强加固效果。?
(4)施工原料除原位软土外,仅掺入少量固化剂,因此施工工艺简单,施工成本低。?
5、喷粉桩加固地基,主要是利用群桩的作业原理,使之提高建筑的地基承载力。根据建筑物的不同形式和要求,喷粉桩可以满堂布、带状布和块状布,不论何种布置方法,桩位排列可采用三角形、正方形、长方形或梅花形均可,桩距应计算确定。目前常用的喷粉桩长不超过14m,在14m深度的范围内,应选择土质均匀、地耐力比较高的土层做为持力层;桩底进入持力层的深度不得小于500mm。?
工程实践表明:喷粉桩主要是用来加固100-150Kpa及以下的低承载力软土地基;经喷粉加固后复合地基的地耐力可达160-250Kpa。如果原天然土层承载力达200Kpa或工程要求复合地基承载力超过300Kpa时,目前限于机械能力及投资上的经济问题几乎是不能采用喷粉桩工艺的。
五、施工设备
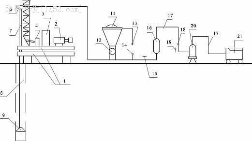
目前多使用的定型配套机械产品为液压步履式PH-5型喷粉桩机。施工工艺设备图如下:?
喷钻机由步履机构、动力机构、传动机构、操作机构、钻架及钻井机构等组成。它们的共同任务是在钻孔的同时完成喷粉和搅拌作业,从而形成桩体。
六、施工程序
喷粉桩施工程序如下图所示:?
1、平整场地,整套设备根据实际地形安装就位。?
2、喷粉桩机自动纵横向移动,钻头对准孔位。

(图a)?
3、启动搅拌机,钻头正向旋转,实施钻进作业。为了不至堵塞钻头上的喷射口,钻进过程中不喷固化料,只喷射压缩空气,即确保顺利钻进,又减小负载扭矩。随着钻进,使被加固的软土体在原位受到搅动。

(图b)?
4、钻至设计孔底标高后停钻。(图c)?
5、再次启动搅拌机,反向旋转提升钻头,同时打开发送器前面的控制阀,按需要量向被搅动的疏松土体中喷射固化料——水泥粉(或石灰粉),边提升边喷射边搅拌,尽量达到搅拌均匀,使软土与固化料充分混合,喷射量与控制阀的开放大小成正比,与钻头的提升速度成反比。(图d)
6、当钻头提升至高出桩顶40cm~50cm时,发送器停止向孔内喷射粉料,桩柱已形成,将钻头提出地面。

(图e)
7、为了确保固化剂与土体充分混合或感到某一根桩喷粉质量欠佳时,对原孔应复钻一次,以达到图纸设计要求。
8、实践证明:在喷粉过程中,当钻头提升到最后阶段时应注意控制,使钻头距地表面≥50cm时停止喷粉,不然粉体被带出地面而向空中飞散污染环境。?
9、利用喷粉桩机的步履功能移动钻机至新孔位重复以上过程。
喷粉桩施工工艺设备图?
1、步履机构 2、主电动机 3、操作台 4、传动机构 5、钻架 6、旋转龙头 7、钻杆 8、钻孔 9、钻头 10、输料管 11、固化剂管
12、转鼓 13、料罐压力表 14、气管压力表 15、安全阀 16、气水分离器?17、压力气管 18、流量剂 19、气流阀 20、贮气罐
21、空压机
喷粉桩施工程序图?
a.钻机定位 b.喷气钻井 c.终孔停钻 d.喷粉提升 e.成桩、钻头提至地面?
1.喷钻机 2.钻架 3.钻杆 4.钻头 5.钻孔 6.成桩?
七、施工组织及施工布置
1、为了确保粉喷桩的施工质量,必须进行严密组织。通常一台喷粉桩组建一个施工班组,每班组由9~10人组成。组长1名,负责该机的指挥,协调各工序间的操作联系;操作机工4人,负责钻机的移位、钻进、喷粉、提升等工作;施工记录及质量检查1人,详细记录施工情况,包括开机时间、钻进速度、提升速度、终孔时间、进尺情况、送灰情况、每延长米用灰量、总用灰量以及故障情况等,并负责监督检查桩位、桩数、标高、成孔质量等;机械工1~2人,负责配套设备的机械及电器安装、运输、维修等;辅助工2人,负责供气、供灰等工作。当两班作业时,应按两班要求配备劳动力。当多台机同时施工时,应相应增加人员。
2、根据任务的大小及制桩的范围进行施工工艺规划。一般情况下,可同时上1~3台喷粉桩机。空压机可单机配备,也可几台桩机共用一台。粉体发送器原则上单机配备,这样便于操作和控制。空压机和发送器应布置在适中位置,尽可能少移动,仓库的材料储备应充足,保证供应。?
3、喷粉桩机的施钻路线应考虑移位和进出场的要求,如下图所示:
喷粉桩施工布置图
任何情况下,喷粉桩机的制桩路线都必须向尚未制桩的场区移位或前进,在设计喷粉桩机的作业路线时要充分考虑到这一点,切忌喷粉桩机从以制桩的区域穿过,避免制好的桩遭受损坏。?
八、质量要求
合格的喷粉桩应该是灰土搅拌比较均匀,无粉料集中现象,外观整齐匀称,无明显凸凹,桩的表面呈钻头叶片的螺旋状痕迹。为保证质量,施工应注意以下几点:
1、施工管理:必须加强现场管理,有具体的管理措施,严格的施工组织纪律,最佳的施工方法,较强的技术力量。
2、技术管理:施工队伍必须是高质量、具有一定的技术等级和施工经验,尤其是生产骨干应有足够的施工经历及处理施工中可能出现问题的能力。
3、机械设备:必须根据工艺要求配备完整的制桩设备,所用设备应具有可靠性和配套性,机械的功能应能满足设计要求。
4、质量把关应落实到人。建立质量把关逐级责任制,质量责任人必须在施工过程中处处检查,层层验收,把事故消灭在萌芽状态。
5、所用的固化剂和各种掺合料都必须符合国家标准,不允许将不合格的材料用于工程。所有材料进场前必须经过检查验收和必要的试验,当确认符合要求时才可使用。
6、应严格按照施工工艺要求组织施工操作,钻进速度,喷灰量以及施工布置等,均要按施工组织设计要求的进行。施工过程中应设专职人员负责质量检查,并做好施工日记。
7、施工前应根据所用的材料,按设计要求的配合比在现场做2~3根短试桩,以确定提升速度,搅拌次数,喷灰量等要素。要钻取芯样做2~3组试块进行7d和28d室内无侧限抗压强度试验,检查材料的可靠性。试桩养护至一定龄期后(一般可取10d~15d),开挖出来进行外观、搅拌均匀程度等质量检查。?
九、安全要求
1、严格按照施工机械安全操作规程进行施工操作,不得违章作业。?
2、施工用电要采用三相五线制,用电设备接地良好,按施工用电要求设置配电箱和触电保护器。
3、安全检查员要持证上岗,做好施工机械的安全检查,凡检查有安全隐患的部位要停机排除,不能带病做业。?
4、按施工组织要求,非机械操作人员不得擅自开机。?
5、在施工全过程应有指挥员统一指挥,统一要求,统一调配。
? 十、施工注意事项
1、施钻前应进行测量放线,准确定出各桩位中心,打木桩作出标记,并在木桩周围撒上白石灰粉以醒目,便于施钻过程中寻找。?
2、在施工过程中,每根桩都必须准确测量钻进深度,确保桩顶及桩底标高符合设计要求。
3、桩体顶端一般常因喷粉量不足、搅拌不匀等原因造成质量缺陷,因此,粉体的喷射高度应比设计桩顶标高高出40cm~50cm,待桩体达到一定强度(一般可取25d~30d)后,再将多余桩体截掉。
4、采用喷粉桩加固的建筑物基底均应设置有一定厚度的砂垫层,以均匀传递上部荷载。?
5、喷粉桩适宜在含有地下水的土层中施工,但在任何情况下的钻进和制桩过程中,均不得随意向孔中注水,对特别干燥的土层,可经试验论证后,提前向土层中注水或浸水湿润,并等水分均匀渗透到土层中后,再实施制桩。?
6、必须做好粉体喷出量试验,保证按设计规定的掺入比向孔中喷射粉料。不允许降低喷入量。?
7、严格防止地下水或其它水渗入套管等输送混合料的通道中,以免堵塞通道,影响喷粉质量。防止方法是钻头一入土就不停的送气。假若造成堵塞,则应起升钻杆,拆下钻头,用铅丝通开。?
8、向固化剂罐中送料时,应在罐口装过滤网,防止纸屑、灰块、杂物、金属碴等掉进罐内。?
9、钻架必须保持竖直,以保证桩体的垂直度。在每一根桩开钻前,必须检查钻头是否对准桩位中心,不得偏位。?
10、制桩过程中时刻应注意施工情况,避免发生供气不足,喷粉不够、断喷、喷嘴堵塞等不良现象,发现问题应及时处理。?
11、每根桩的桩体制作应一气呵成,不得在喷粉过程中间歇、中断。应根据桩长和固化料掺入比计算出一根桩的喷灰量。当然,每根桩的用灰入罐量应稍高于计算用量,以防因喷灰不均匀造成储灰量不足。?
12、钻孔时应把握钻进速度,不宜过快,确保使原位土搅拌后疏松透气。提升钻头时应均匀慢速,保证掺入料与原位土充分混合。严格控制固化剂喷入量,每延长米的固化剂喷入量与设计值误差应小于3%。?
13、喷粉桩在自然养护14d以后方可开始基坑开挖。为防止开挖中造成桩顶损坏,应采用人工开挖和出土,当挖除土层很厚时,桩顶以上80cm以下部分用人工挖除,桩顶80cm以上部分可用机械开挖。?
14、施工结束后应对所有桩按《建筑地基基础质量验收规范》(GB50202-2002)的有关规定进行质量检测及复合地基承载力检测,必要时还应进行单桩承载力和桩体强度检测。所有检测指标必须达到设计标准,桩位及桩数也必须符合设计要求。
15、对断桩、缺桩、缩颈、强度低、桩长不够、偏位较大,表面缺陷等事故,必须按设计要求进行补强处理,不允许降低设计标准。?
16、在施工过程中应有专人负责,记录所有喷粉桩的桩号,成桩时间、设计桩长、实际桩长、设计桩径、实际桩径、固化剂实际喷入量、桩底标高、桩顶标高等。成桩时间记录必须按制桩程序(钻进、提升、复搅)详细记录,时间记录误差不得大于5s,桩深记录误差不得大于5cm。?
_________________________
收稿日期: 2005-04-18?
作者简介:李林(1962- ),男,山东微山人,讲师,主要从事土木工程教学及其研究工作。


